Mercedes 190SL 44PHH Ersatzteillist+Abbildung     SOLEX   Register-Flachstromvergaser   ,190 SL ,4Zylinder 2Vergaser  / Alfa Romeo  2000 Spyder  2Vergaser  SOLEX 44PHH    PHH

                                                      

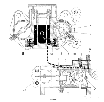
II hinten                                                                                                                       

             

                                                                                               1= Front 

            

 

Wirkungsweise beim Leerlauf   / "Gg" Hauptdüse  / "g" Leerlaufdüse

Wirkungsweise Beschleunigungspumpe  "H3" Pumpendruckventil  / "H4" Pumpensaugventil  / "M" Membrane

"u1"  Leerlaufluftdüse  /  "W" Gemischregulierschraube

"Gp"  Pumpendüse  /  "i" Einspritzrohr  /

 

                         

Wirkungsweise beim Normalbetrieb / 1. Stufe                  /                              Wirkungsweise bei Vollgas , Spitzenleistung 2. Stufe zugeschaltet

           

SOLEX

44PHH    Bild Nr.    
 01 Vergaser  1  DB 190SL A00007106101 =7.14584.01  / DB  1 Vergaser 1 Alfa Spyder  2,0l 7.15018.01    6.900.209  6900209  E14738/1
02 Vergaser  2  DB 190SL A00007106201 =7.14584.02  / DB 2 Vergaser 2 Alfa Spyder  2,0l 7.15018.02    6.900.210  6900210  E14738/2
    Bild Nr.          
2 Drosselklappenwelle  I.Stufe A0000711411 =3.16209.00        
2a Drosselklappenwelle II.Stufe A0000711511 =3.16210.00        
13 Übertragungshebel  kurz Beschleunigerpumpe 0411630918 =3.10919.00      
39 Einstellschraube A0000716671 =3.11262.00       1 Vergaser 1 Alfa 2,6 sprint                      6.900.211   6900211  E15065/1
40 Druckfeder A0000710116 =3.00169.00       2 Vergaser 2 Alfa 2,6 sprint                      6.900.212   6900212  E15065/2
41 Gemischregulierschraube A0000714271 =3.02396.00 3 Vergaser 3 Alfa 2,6 sprint                      6.900.213   6900213  E15065/3
42 Druckfeder A0000710116 =3.00169.00            
51 Lufttrichter I.St.DB 190SL 3.16203.00 nur i.Stufe A0000711842 =3.16206.52     K26      
52 Halteschraube f. Lufttrichter M6 3.11337.00 = 3.19193.00      
53 Mutter  M6 3.11342.00 = 3.02540.00      
54 Vorzerstäuber A0000711742 =5.03695.00            
55 Halteschraube 3.15988.00 = 3.19852.00     K26 I. St. /  K34 II. St.
66 Hauptdüsenträger A0000710741 =3.10910.01           2,0 / 4Zyl. Spyder 
  Haupdüsenträger      Ersatz für 3.19919.01 = A0000710541 =3.10910.00      
68 Hauptdüse  I St. A0000713435 =3.10913.43    Gg 0130   68 Hauptdüse  I.St.     3.10913.        Gg 0135
68a Hauptdüse II.St. A0000715335 =3.10913.55    Gg 0160   68a Hauptdüse II.St. 3.10913.        Gg 0155
69 Leerlaufdüse   I. u. II. St.  Zk3016/55 A0000711436 =5.03016.11       g 55   69 Leerlaufdüse  I.St. 5.03016.09       g50
      69a Leerlaufdüse II.St, 5.03016.13       g65 unabhängig
73 Pumpendüse 3.16221.09      Gp 50 73 Pumpendüse 3.16221.09     Gp 50
77 Kugelventil A0000700146 =5.03007.00      
81 Einspritzrohr A0000701173 =5.03758.00   i 0,8       
86 Hohlschraube / Ablauf A0009900763 =3.11326.00           
91 Beschleunigungspumpe A0000701052 =5.03682.00        82 93 Membrane 5.03576.00 nicht lieferbar
93 Pumpenmembrane A0000730205 =5.03576.00    C19474      
 98  Pumpedeckel mit Hebel A0000730502 =5.03683.00      
102 Linsenschraube M4 x0,75  2x A0000714072 =3.10915.00      
109 Zylinderschraube M4 x0,75  4x A0000714171 =3.15842.00
110 Federring 4   4x 3.03473.00      
111 Pumpenverbindungsstange A0000700576 =5.03780.00   Membrane ohne Schraubteile 3.15888.00
         
123 124 126 Belüftung kpl. M9x1 5.03129.00      
121   * Unterdruckdose  II. Stufe A0000700353 =5.03782.00     108 Dichtung f. Membranpumpe 3.15883.00
127  in 121 Unterdruckmembrane  II. Stufe A0000701152 =5.03720.00     127 Membrane 5.03720.00 nicht lieferbar
154 Dichtkegel  Klemmkonus 4mm 3.15891.00      
158 Hohlschraube M6 A0009900763 =3.11326.00
159 Dichtring M6 3.15884.00   C20182      
171 Starterkllappen-Welle  Verg.I A0000711211 =3.16226.00  
171a Starterklappen-Welle  Verg.II A0000711311 =3.16215.00        
178 Mutter M8 x1 N000936008004 =3.00724.00      
188 Lagerbuchse / Starterklappenwelle A0000710353 =3.11359.00      
201   * Vergaserdeckel A0000711704 =5.03762.00
202 Vergaserdeckeldichtung A0000712980 =3.16203.00      
204 Mischrohr I. Stufe   43 K16356 A0000710949 =3.16356.00                
204a Mischrohr II. Stufe  42 ZK3691 A0000710849 =5.03691.00                
205 Luftkorrekturdüse  I. Stufe A0000711834 =3.02944.63      a 180        
205 a Luftkorrekturdüse II. Stufe A0000710334 =3.02944.55      a 160        
206 Schwimmernadelventil A0000710144 =5.00089.00          2,0   208 Schwimmer   10gr. 5.03744.00
206 Schwimmernadelventil A0000710544 =5.05261.00          2,0        
206 Schwimmernadelventil m. Kugel ZK89/2 A0000710644 =5.00089.02          2,0        
207 Dichtring   K15852/1,2 A0009973840 =3.15852.12          1,2        
208   * Schwimmer 10gr.  Zk3744 A0000711143 =5.03744.01         10gr       
209    * Achse für Schwimmer A0000710233 =3.16214.00      
231 Abdeckplatte A0000711804 =3.16205.00      
232 Dichtung f. Abdeckplatte A0000713080 =3.16204.00      
        nicht mehr lieferbar         
zur   kpletten.Vergaser - Ersatzteilliste nach den Bild Nummern      
   
Die Vergaserbefestigung beim Mercedes Benz  190SL  original Mercedes  Teile !!  
   
                             
                                     Servicesatz 44PHH DB 190SL  4.SX737.00                    3.15883.00                                             3.15888.00

                  

   
Luftsammelrohr mit Luftfilter und der Stützstrebe ( sehr wichtig ) Ansaugrohre ( fast immer lose + undicht )  und Auspuffkrümmer  mit Befestigungsteilen  
   

               

 

             

Beim Zusammenbau  lange Schrauben oben kurze unten sehr wichtig:  die Stahl-Wellscheibe  4  ist direkt zwischen Vergaser und Gummiflansch 
 1   und stützt das Rohr am Vergaser ab.  Die Wellscheibe M8 Bild verhindert, dass sich das
Distanzrohr Bild 3  in den Vergaser zieht und den Vergaser zerstört !!.
 
Dichtungssatz 40PHH BMW + 44PHH DB 4.00202.00

 
 
Das Fahrzeug von SOLEX auf WEBER umrüsten =  klick hier